一款輕巧高效的開關電源電路,LM2576 power supply
關鍵字:LM2576,開關電源電路
作者:張漢屏
一個性能優良的電源,是所有電子設備的能源保障。現在電子技術發展迅猛,對電源的要求更趨苛刻,特別是一些大電流、寬電壓輸入范圍之電源更是如此。原來的串聯穩壓電源由于其體積大、效率低、發熱嚴重等缺點已被逐步淘汰出局,設計者轉而關注并采用輕巧、效率高的開關電源電路,并逐步延伸到各個領域應用。
其中的一款LM2576芯片性能比較優良,能在很寬的電源范圍下工作;普通型的上限達到40V,而LM2576HV能達到60V,輸出電流均在3A左右(散熱條件良好情況下)。而且,該芯片外圍元件少,調試容易,所以為很多人所采用,特別是在DC-DC變換器上應用最廣泛。
但是,由于DC-DC變換器輸入電源多數為化學電源,即各類電池,而電池具有內阻,空載和滿載端電壓變化很大,所以制造大功率電池時,為減少電池極板面積,廠家的策略往往是增加串聯個體數目,以致電池標稱電壓有逐漸增高趨向。以自行車用48V鉛酸動力電池為例,空載時為58V,滿載為48V。而48V燃料電池空載更達72V,滿載達48V。
顯而易見,48V鉛酸電池空載電壓已超過LM2576上限,已接近LM2576HV輸入上限,而48V的燃料電池空載已超過LM2576HV上限。而且,很多應用要求DC-DC輸出5-15A的電流,這就迫使LM2576輸出擴流。然而這并非用大功率管組成射極跟隨就可擴展為需要值。讀者也不必去嘗試,其結果為大功率管無法承受功耗發熱嚴重而損壞!
欲使系統滿足高電壓輸入、大電流輸出要求,當然最簡單是改換電路結構,采用高頻變壓器輸出的開關電源。但是某些芯片轉換效率欠佳,系統體積也無法和LM2576相比;而且由于制作方面復雜性,造價也倍于后者,所以很多輸入、輸出電源無需電氣隔離的電源。設計者總不太喜歡采用,而希望保留簡潔的LM2576平臺,加以外圍輔助電路,從而實現其性能提升,制作出具較高性價比的應用產品。
筆者接受一個在48V燃料電池控制龜源的任務:其參數為輸入電壓空載72V到過流時39V,輸出為30V穩壓、輸出7A。而且有體積上的限制,不允許安裝大的散熱片。其中如此高的電源電壓一項,就使很多元器件失去用戶之地!為此,需要對輸入電壓、輸出電流的擴展電路作一個全新的兩全齊美的設計,才能脫出困境!
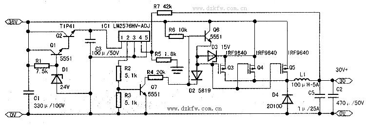
反復推敲得出具體設計方案:芯片電源用簡易串穩電源24V供電,用VMOS管作為開關管替代芯片片內開關管;芯片僅作為VMOS管驅動器應用。
實現此方案的關鍵問題,就是要求電路既要有效傳送驅動信號,又要同時保證外接VMOS管與芯片輸出端電位隔離良好,避免芯片與管子同歸于盡的后果發生!
經過多次試驗,簡易電路具體結構介紹如下圖所示。其中,R1、Q1、D1、Q2組成24V簡易穩壓電路。C3為濾波電容。該電源為LM2576提供穩定23V電源。當電源輸入低于25V時不能穩壓,但仍能在20V以上電壓工作。如欲工作于低電源電壓,可降低D1穩壓值,實驗可低到10V應用,而不影響電路工作,但Rl須調整阻值,使穩壓管正常工作。由于該電源僅提供小電流輸出的LM2576芯片,所以Q2不需裝散熱片。
在電源上限不超過芯片輸入電壓上限值時(LM2576HV-60V,LM2576-40V)可省略穩壓電路,電池直接LM2576電源端。
LM2576輸出由R2、R3分壓驅動Q7導通與截止。Q7導通時,電流從VCC流出經D3、D2、R4、Q7到地。D3產生15V電壓供給Q3~Q5柵壓,而Q6因D2導通而反偏充分截止。截止時的高阻不構成Q3~Q5柵壓的旁路。從而使Q3~Q5充分導通,C2充電。Q7截止時,VCC→D3→D2→R4電流回路被切斷,D3無壓降使Q3~Q5柵壓消失,而D2截止,不構成對Q6反偏箝位。Q6因R6供電導通,致使Q3~Q5柵極同源極短接,從而迫使Q3~Q5迅速關斷,C2仍由D4產生下正上負的感生電壓通過L1充電。
此狀態直至Q7重新導通結束。
Q7由LM2576輸出端口經R2、R3分壓驅動,高電平時導通,低電平截止。由于VMOS管驅動電流很小,因此5551驅動3~4個VMOS是沒有問題的。必要時更換TIP41驅動能力更大,能驅動更多的VMOS管。
LM2576-ADJ(ADJ為輸出電壓可調型)的電壓調整機理,由R7、R5阻值調整構成調節系統。
其公式VOUT(V)=1.23*(R7/R5+1),附加的電子開關不影響其數值。電路中R7為42K,R5為1.8K;實測輸出電為30.3V。同計算值非常接近。
電路調試結果:品質極其良好,基本上合乎設計要求;輸出電壓穩定,發熱很小;在不加散熱片情況下,3個IRF9540并聯輸出4A時工作3小時管子不燙手;而LM2576和20100肖特基二極管根本無溫升。裝上散熱片后,可輸出7.0A電流。轉換效率同Im2576單獨應用相仿。其性能竟滿足了要求極其苛刻的軍方要求:輸入電壓22~80V;輸出電流1~7A;全天候工作溫升<27℃的來說,系統提升應用效果相當成功。
此外,本電路還可派生出很多應用電路,如可以用作有刷直流電機控制器;R7改成電位器可平穩的調節轉速;R5并接適當阻值負溫熱敏電阻后,使成為一個DC無刷風機控制器;可根據器件溫升自動調節風機轉速…,作為一個高效、寬范圍電源輸入、大功率輸出平臺;肯定有很多等待讀者開發用途!
注:LM2576---TO-220封裝
IRF9540、TIP41、20100均為TO-220封裝
D1、D2、D3均為貼片1005封裝
Ql、Q6、Q7為貼片SOT-23封裝
R1-R7為貼片0805封裝
L1中12X16工字磁芯用1.35漆色銅線繞制,電感量47μH-100μH
C1、C3為RB.3/.6封裝
C2為RB.2/.4封裝
C5為貼片1005封裝


返回頂部
刷新頁面
下到頁底